головнаконтактна інформація
Персонал - журнал інтелектуальної еліти РУБРИКИ
№ 7/2005 
Персонал № 7/2005
архів номерів
рік: 2008   2007   2006   2005   
2004   2003   2002
Подробности сэндвич панели ппу 100 мм цена у нас на сайте.
Аналітичний щотижневик Персонал-плюс







Закони світової історії і соціальної динаміки

Геогій ЩОКІН

Зміна релігійно-етичних парадигм як закон соціальної історії

М. Вебер класифікував релігії — голов­ну основу цінностей і найвищі регулятори суспільного розвитку — залежно від того, які цінності і соціальні страти були основ­ними виразниками цих віровчень. Нап­риклад, в індуїзмі — це чернець, який впо­рядковує світ (духовний стан); у конфуці­анстві — бюрократ, що прагне організува­ти навколишній світ (аристократичний стан); в іудаїзмі — мандрівний торговець, що має прибуток (торгово-лихварський стан); у християнстві — ремісник, що створює різні блага (виробничий стан) [2]. Звідси, згідно з М. Вебером, магічно-культові елементи найбільш характерні для релігії землеробських народів і — у межах цих культур — для селянського ста­ну; віра в долю, рок, характерні для релігії народів-завойовни-ків і військового стану, раціоналістичний характер має релігія міських верств, які меншою мірою ніж хлібороби залежать від природних умов і більшою — від ритмічно організованого способу життя. Однак, оскільки релігійні системи, як прави­ло, виникають і поширюються не серед однієї верстви, то в них присутні у своєрідних поєднаннях різні елементи. При цьому особливу увагу М. Вебера привертала релігія паріїв, тобто груп, які перебувають на найнижчому щаблі або навіть поза соціальною ієрархією. Носіями «релігійності паріїв» є збіднілі і занепалі вихідці з більш привілейованих соціальних прошарків, тобто люмпени і марґінали, орієнтовані, як прави­ло, на здійснення соціальних революцій.

Науковець класифікує релігії і за принципом їхнього став­лення до світу: для конфуціанства, наприклад, характерне прийняття світу і навпаки, запереченням світу характеризу­ється буддизм. Деякі релігії (християнство, зороастризм, іс­лам) приймають світ на умовах його виправлення. Від того, чи приймається світ і якою мірою, залежить ставлення релігії до сфери політики, тобто до влади і насильства. Релігія, що від­кидає світ, як правило, аполітична, оскільки виключає на­сильство (тут найбільш послідовний буддизм, а також христи­янство, для якого характерні ідеї ненасильства). Там, де світ цілком приймається, релігійні погляди легко погоджуються зі сферою політики (іудаїзм, наприклад); містико-магічні релігії взагалі не вступають у протиріччя з політикою [2].

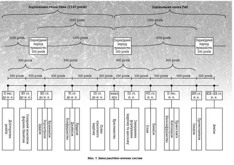
Вивчення соціальної історії переконливо свідчить про пері­одичну зміну релігійно-етичних систем і домінуючу соціальну роль їхніх носіїв. Так, Мойсей і Зороастр, вихідці зі жрецького середовища, були останніми рефор­маторами, які намагалися близько ХІІ ст. до н. е. зберегти панування теократії. Цілою хвилею вис­тупів проти жрецтва характеризувалося VI ст. до н. е., коли представники світської аристократії (Будда і Махавіра в Індії, Конфуцій і Лао-Цзи в Китаї, Піфагор у Греції) заснували нові релігійно-етичні системи (буддизм, джайнізм, конфуціанс­тво, даосизм, орфізм). У період від ІІІ ст. до н. е. до ІІІ ст. н. е. на основі ортодоксальних ведичних традицій сформувався класичний індуїзм, що став релігією не лише жерців і аристократів, а насампе­ред — широких прошарків населення. На початку нашої ери переможний рух планетою почало хрис­тиянство, що також опирається на народні маси, а в VII ст. виник іслам, що поширився в арабському світі і призвів до його бурхливого розширення (див. мал. 1).

Звідси закон: соціальна історія постає перед нами як циклічна зміна релігійно-етичних сис­тем, що відображають таку ж циклічну зміну ба­зових цінностей і їхніх основних носіїв (соціаль­них прошарків, етносів, культур і цивілізацій).

Взаємозв'язок зміни релігій, а також відповідних типів культури, соціальних страт, історичних ча­сів і народів корелює з ритмами космічних впли­вів. Так, американський астроном Дж. Едді, вивча­ючи сонячну активність за останні 5 тис. років, ви­явив цикл середньою тривалістю 500–600 років, що відповідає і відомим циклам українського вче­ного Н. Чмихова [26]. У структурі циклів Дж. Едді спостерігається також довший цикл, тривалістю 900–1200 років, що складається з двох півциклів — довгого (близько 600 років) і короткого (близь­ко 300 років) [3, с. 240]. Звідси закон: існує певна ритмічна синхронність між циклами сонячної ак­тивності й історичних подій великого масштабу (Л. Чижевський).

Закон соціокультурних циклів

Будь-яка велика культура, за визначенням ві­домого соціолога П. Сорокіна, — це єдність, усі складові якої пронизані одним основним принци­пом і виражають одну, головну цінність [22]. Са­ме цінність є основою і фундаментом єдиної культури. Наприклад, головним принципом, або головною істиною (цінністю) культури Заходу Середньовіччя був Бог, а організація соціального життя була переважно теократичною. Таку уніфіковану систему культури, засновану на прин­ципі надпочуттєвого і надрозумності Бога як єди­ної реальності і цінності, П. Сорокін називав іде-аціональною. Така система лежала також в осно­ві культури брахманської Індії і Древньої Еллади до VIII–VI ст. до н. е.

Занепад середньовічної культури, що почався після розпаду християнства на православ'я і като­лицизм у ХІ ст., був пов'язаний з появою нового основного принципу, який полягав у тому, що об'єктивна реальність почуттєва. Цей новий принцип, який повільно набував значення, зіш­товхнувся з принципом ідеаціональної культури, який занепадав. Їхнє злиття в органічне ціле ство­рило цілком нову культуру в ХІ–ХІV ст., яку П. Со-рокін назвав ідеалістичною, і яка безпосередньо передувала відколу від католицизму протестантизму в ХVI ст. Цю культуру дослідник порівню­вав із давньогрецькою культурою V–IV ст. до н. е. (тобто постпіфагорейською).

Однак процес на цьому не закінчився: ідеаціо-нальна культура Середньовіччя продовжувала за­непадати, тоді коли культура, заснована на виз­нанні чуттєвості і сенсорності об'єктивної реаль­ності, продовжувала нарощувати темп у наступ­них сторіччях. Починаючи приблизно з ХIV– XVI ст., новий принцип став домінуючим, а з ним і заснована на ньому культура. Так виникла сучас­на форма культури — культури сенсорної, емпі­ричної, світської, чуттєвої [22].

Перераховані соціокультурні типи П. Сорокіна — ідеаціональний, ідеалістичний і чуттєвий — вияв­ляють, крім європейської, в історії єгипетської, ва­вілонської, греко-римської, індуїстської, китай­ської й інших культур. Нинішня криза триває внас­лідок руйнування чуттєво-сенсорної форми захід­ної культури і суспільства. Такі явища дуже рід­кісні: за останні 3 тис. років греко-римської і захід­ної (романо-германської) історії подібне відбува­лося всього чотири рази. Такий масштаб ниніш­ньої кризи. Звідси закон: соціокультурні типи, засновані на відповідних базових цінностях, три­вають сторіччями і періодично змінюють один одного (П. Сорокін). При цьому носіями базових цінностей є відповідні суперетноси (або цивіліза­ції), зміна яких на історичній арені також підпо­рядкована соціокультурному і релігійно-етично­му циклу, відповідно до якого домінування в су­часному світі романо-германської культури зако­номірно заміниться перевагою культури германо-слов'янської.

Закон зміни форм державного правління

Визначення держави, за Платоном, зводиться до того, що на ранніх етапах свого існування дер­жава цілком ототожнюється з суспільством, і ли­ше наступний розклад останнього призводить до виникнення окремої державної форми організа­ції суспільного буття [13; 21]. В основі держави лежить принцип поділу праці, що через природну нерівність здібностей людей, поділяє суспільство на відповідні стани. Поділ суспільної праці і со­ціальних станів обумовлений також функціону­ванням у кожному соціумі основних цінностей — Істини, Краси, Добра і Справедливості. Цій іє­рархії цінностей відповідають соціальні страти: правителів-філософів, воїнів-чиновників, тру­дівників (селян і ремісників, а також обслуги). Водночас існує становий круговорот, відповідно до якого, на думку Платона, стан філософів (ду­ховна аристократія або теократія) уступає своє місце   спочатку   військово-адміністративному стану (світська аристократія), а потім і нижчим станам. Процес розкладу спочатку ідеальної дер­жави, розпочавшись, уже не може бути зупине­ний через об'єктивні закономірності і проходить низку стадій політичного правління: тимокра-тію (влада привілейованої більшості) → олігар­хію (влада багатої меншості) → демократію (вла­да народу) → тиранію (одноособове деспотичне правління) → повернення до ідеальної держави [20, с. 22]. Звідси закон: трьом психічним сфе­рам відповідають три соціальні сфери, а їм ра­зом — три основні стани, які закономірно змі­нюють один одного в управлінні державою, син­хронізуючись  зі  зміною  базових  цінностей (Платон).

Учень Платона Аристотель вважав кращими державними формами правління монархію, арис­тократію і політію (помірну демократію), зво­ротною стороною яких є гірші форми — тиранія, олігархія й охлократія (панування юрби) [13, с. 4]. Зміну цих форм правління детально розкрив По-лібій, який стверджував, що негативні форми вла­ди нерозривно пов'язані з позитивними відповід­но до соціального закону: кожна позитивна фор­ма (монархія, аристократія, демократія) пере­ходить неминуче в негативну (тиранію, олігар­хію, охлократію). При цьому така закономір­ність простежується не тільки всередині кожної пари формально однорідних типів влади (монар­хія — тиранія, аристократія — олігархія, демокра­тія — охлократія), а між формально різнорідними типами: коли, наприклад, монархія (або сучасне президентство) переходить у відповідну потвор­ну форму (тиранію), тоді, у свою чергу, на руїнах останньої виростає аристократія і т. д. [4; 14].

Звідси закон: відповідно до круговороту дер­жавних форм правління ці форми циклічно змі­нюються, переходять один в одного і знову по­вертаються (Полібій). Так вважав і Н. Макіавеллі, який стверджував, що засновник кожної з трьох гарних форм правління може встановити її лише на відносно короткий час, оскільки ніщо не втри­має її від перетворення на свою протилежність через подобу [8].

Проблемою зміни форм правління займався і відомий китайський мислитель Сима-Цянь, який вважав, що в управлінні людьми необхідно спиратися на особливості природи людини, на­самперед на його пізнавальну, вольову й емоцій­ну сфери. Знаючи це, можна вибрати ту психо­логічну сферу, яка найбільшою мірою буде від­повідати ефективному управлінню соціумом. Сима-Цянь стверджував, що найважливішими з погляду соціального управління є такі особли­вості людської натури, як прагнення до творчос­ті (пізнавальна сфера), інстинкт шанування (вольова) і щиросердя (емоційна сфера). Історія свідчить, що можна, ґрунтуючись на названих особливостях людської природи, керувати людь­ми і сприяти суспільному розвитку, однак та ж історія засвідчила ще і те, що кожна з цих особ­ливостей має і свою негативну протилежність. Тому згодом виділені принципи соціального уп­равління призводять до державної кризи: або до панування показного, наукоподібного, або до сліпого культу влади, або до моральної дикості [4, с. 250–261].

Таким чином, соціальні мислителі вказують на існування об'єктивного закону, відповідно до якого в державі і суспільстві відбувається періо­дична зміна базових цінностей, яка зумовлює змі­ну в домінуванні соціальних сфер, панівних соці­альних прошарків і відповідних їм форм держав­ного правління (див. мал. 2).

Джерело розвитку державних форм правління — гегелівські «єдність і боротьба протилежностей» — суспільства і держави. Це боротьба різноспрямо-ваних тенденцій — прагнення до необмеженої сво­боди і необхідності організації соціального життя. Коли в соціумі переважає перша тенденція, в соці­альному управлінні ширяться демократизація і колективізм, коли переважає друга — авторита­ризм і індивідуалізм влади. Звідси закон: опти­мальним способом вирішення об'єктивно існую­чого конфлікту між суспільством і державою в сучасних умовах є змішана форма правління у вигляді конституційної монархії або президент­ської республіки, оскільки при названих формах правління досягається співвідношення між праг­ненням суспільства до обмеження державної влади (парламентське начало) і прагненням дер­жави до одноосібної влади над суспільством (мо­нарх або президент) [11].

Закон повноти та ієрархії різних видів державної влади

Класична теорія державного управління, за Платоном й Аристотелем, передбачає п'ять скла­дових, п'ять видів державної влади і управління, які перебувають в ієрархічному взаємозв'язку [19; 27].

1. Концептуальна (світоглядна) влада — ґрун­тується на традиційній для даного соціуму релігій­но-етичній системі (наприклад, для сучасної Ук­раїни — це доктрина християнського Православ'я, яка базується на постулатах Нагорної Проповіді Ісуса Христа); формує орієнтири і стра­тегічні цілі суспільного розвитку; створює концепцію соціального управління, адекватну до поставлених стратегічних цілей.

2.   Ідеологічна влада — наділяє кон­цепцію соціального управління зрозумі­лими і привабливими для широких верств населення формами того або ін­шого ідеологічного типу (усього їх чоти­ри: консерватизми, соціалізм, лібералізм і анархізм).

3.   Законодавча влада — «підводить» під світоглядну концепцію соціального управління і відповідну ідеологію — юридичні норми і правила, покликані за­безпечити дотримання основних кон­цептуально-ідеологічних постулатів.

4.   Виконавча влада — організовує без­посередню реалізацію концептуально-іде­ологічних положень, впровадження їх у практику соціального життя, з опорою на систему законів і юридичних процедур.

5.   Судова влада — забезпечує дотри­мання законності і прийнятих концепту­ально-ідеологічних положень у сус­пільстві, спираючись на державний апа­рат примусу і покарання (тобто необхід­ного насильства).

Така дійсна повнота державної влади і управління. Все інше, як сказано в Євангелії, «від лукавого». Наприклад, у К. Мар­кса головним було уявлення про «економічну стихію», яку необхідно було взяти в руки і навчи­тися керувати нею. Із цього уявлення безпосеред­ньо випливали усуспільнення національної економіки, державне її планування, заміна влади лі­беральної буржуазії владою політичної бюрокра­тії з опорою на пролетаріат і марґінальні верстви, заміна приватної власності державною. Ш. Монтеск'є, навпаки, шукав способи приборкання не економічної, а політичної стихії, і першим запро­понував замінити вертикальний принцип побудо­ви влади горизонтальним: трьома рівноправними і тому взаємно зрівноваженими інститутами (за­конодавча, виконавча і судова влада), жоден з яких не може перетворитися в одноособового ха­зяїна системи [28]. Водночас обидва підходи (економічний і політичний) не враховували (ус­відомлено або неусвідомлено) головного — духов­ної складової соціуму, що є основою формування концептуально-світоглядної влади. У результаті і зникла в СРСР більшовицька влада, і нинішня лі­беральна влада на Заході виявляють єдину для обох концептуально-світоглядну складову, корені якої варто шукати в богоборчій і мізантропічній системі іудаїзму. Не даремно проти прийнятої не­давно Конституції Євросоюзу одночасно і рішуче виступили як глава Римської Католицької Цер­кви, так і глава Російської Православної Церкви, затаврувавши її як антихристиянську, а значить — богоборчу.

Звідси закон: кожна державна влада завжди і неминуче включає п'ять складових частин (сві­тоглядну, ідеологічну, законодавчу, виконавчу і судову), що перебувають в ієрархічному взає­мозв'язку, де основою є концептуально-світог­лядна влада. Відсутність у конституції держави позначення концептуальної й ідеологічної влади вказує, як правило, на її зовнішньо латентне уп­равління.

Закон функціонування ідеологічних типів

Різні ідеали соціального устрою, вироблені людьми в процесі всесвітньо-історичного розвит­ку, умовно підрозділяють на чотири основні ідео­логічні типи (консерватизм, лібералізм, соціалізм, анархізм), головні характеристики яких представ­лені в табл. 1. При цьому анархізм, як ідейно-тео­ретична течія, яка відкидає інститут державного управління суспільством, не може бути, зрозумі­ло, і частиною державної влади, тому зосередимо­ся на трьох інших.

Ідеалом лібералізму є державотворення для збереження і захисту природних прав людини, тому в ліберальному суспільстві формується пріоритет цивільних свобод над політичними, юри­дичними і навіть над моральними нормами, а од­нією з головних характеристик такого суспільс­тва є меркантилізм, тобто відверте споживацтво. Соціалізм позначає такий ідеал — і дійсність з та­ким соціальним устроєм, при якому благо визна­чається перетворенням приватної власності в суспільну (насправді — державну), що супровод­жується на практиці організованим насильством одного класу над всіма іншими, крайнім централізмом, терором, примусовою працею, тотальною владою держави і єдиної партії, контролем за інакомисленням тощо. Ще Аристотель у своїй «По­літиці» попереджав про згубність шляху розвит­ку суспільства, заснованого на принципах усус­пільнення й одноманітності, оскільки кожне сус­пільство складається з індивідів, не рівних за достоїнствами і здібностями [1; 6; 15; 27], див. мал. 3.

Аналіз лібералізму як політико-ідеологічної те­чії переконливо доводить, що його основні компо­ненти — ліберальна демократія, права людини, правова держава і ринкова економіка — несумісні (тобто причини соціальних конфліктів, спричине­них лібералізмом, непереборні в принципі). Інши­ми словами, лібералізм є нездійсненною утопією, подібною до соціалістичної ідеології (Р. Лернер, С. Мічем, Е. Бернс), тому, на думку, наприклад, японського філософа Т. Умехари, досить імовірно, що історія СРСР стане історією США і тотальна катастрофа марксизму є лише провісником катас­трофи західного лібералізму. При цьому визнана нині нездійсненність лібералізму — основної течії сучасності — може спричинити катастрофічні нас­лідки, досить негативні для всієї системи Заходу, тому що вони означають його повну трансформа­цію (йдеться, наприклад, про те, що сучасні захід­ні держави — насамперед Ізраїль, США, Англія — у найближчому майбутньому можуть стати (або вже стали) фашистськими) [3, с. 480–481, 487– 496].

Звідси закон: єдиною природно-традиційною моделлю сучасного суспільства, яка переходить у постіндустріальну, постекономічну, постмодер­ну епоху, стає консерватизм (від лат. соnservare зберігати, охороняти), що орієнтується на роз­виток традиційних цінностей і захист морально-правових основ, відображених в ідеалах релігії, нації, родини і власності. Розвиток подій після закінчення холодної війни переконливо демонс­трує тріумф не ліберальної демократії, яка пере­могла соціалізм, а тріумф національного патріо­тизму і етнізму, що підтверджується ростом націо­нально орієнтованих політичних (тобто консерва­тивних) рухів у багатьох, зокрема і європейських, країнах.

Закон динаміки форм народовладдя і ціннісних орієнтацій

Процес повторюваних історичних змін призво­дить не тільки до руйнування старих соціальних структур, а й спричиняє, як відомо, кризу ціннос­тей — найвищих регуляторів людської діяльності. У цілому історичні зрушення, що відбуваються, можна схарактеризувати як руйнування в сус­пільній та індивідуальній свідомості колишніх ціннісних норм і прагнення віднайти нові [24]. Вивчення спрямованості ціннісних орієнтацій і со­ціально-психологічних реакцій, що випливають з них, і форм поведінки людей дає змогу говорити про базове значення ціннісних змін, що відбува­ються, і характеризувати на їхній основі певні ти­пи свідомості, а також давати деякі характеристи­ки щодо соціальної приналежності їхніх носіїв. Регулярне вивчення ціннісних орієнтацій дає уяв­лення про групування соціальних суб'єктів за ос­новними цінностями: ті, що орієнтуються на ду­ховні цінності; ті, що орієнтуються на політичні цінності; ті, що орієнтуються на цінності вироб­ництва; ті, що орієнтуються на цінності споживан­ня. Таке групування ціннісних орієнтацій дає змо­гу робити висновки про перевагу в суспільстві ті­єї або іншої базової цінності [24].

Наприклад, у розрізі відомих ідеологічних типів сучасності, соціальні групи, що орієнтуються на духовні цінності, є носіями національно-консерва­тивної ідеології; ті, що орієнтуються на політичні цінності — носіями тоталітарно-соціалістичної ідеології; ті, що орієнтуються на цінності матері­ального виробництва і споживання матеріальних благ — носіями анархо-ліберальних ідеологій. Знаючи переважаючі в суспільстві ціннісні орієн­тації й об'єктивні закономірності конкретного ета­пу всесвітньо-історичного і етносоціального роз­витку, можна здійснювати соціальне управління у найсприятливішому для суспільства напрямку. При цьому необхідно враховувати не тільки домі­нуючі базові цінності, а й їхні різновиди в межах провідної базової цінності.

Наприклад, найбільш визнаною формою дер­жавної влади на сучасному етапі соціального роз­витку є демократія, в основі якої — визнання на­роду джерелом влади [24]. Однак способи апеляції до цього джерела різні:

•     плебісцитна демократія звертається до наро­ду через організацію плебісцитів, референдумів, масових мітингів, тобто до його емоційного почат­ку, що може спричинити її перетворення в охлок­ратію, некомпетентність державного правління;

•     ліберальна демократія, використовуючи про­фесійні знання й урядові інститути, звертається до народу через обіцянки задовольнити їхні мате­ріальні інтереси, тобто переважно до сенсорного початку, що може спричинити переростання в ав­тократію;

•     авторитарна демократія є перехідною фор­мою від тоталітарних до ліберальних режимів; ґрунтується на пріоритеті вольової сфери, що та­кож містить небезпеку повернення тоталіта­ризму;

•     конституційна демократія, заснована на кон­сервативній ідеології і змішаній формі державно­го правління, звертається до народу, насамперед через його духовне начало. Саме конституційна де­мократія може перетворитися в меритократію (М. Янг), тобто «влада кращих», духовних арис­тократів, які стають виразниками інтересів усього народу. Звідси закон: будь-яка державна влада (зокрема демократична) повинна ґрунтуватися на переважаючі у суспільстві базові цінності і праг­нути до заощадження в народу ду­ховних орієнтирів, основним ви­разником яких є справжня націо­нальна еліта.

Закон взаємозв'язку типів суспільства, форм виробниц­тва і типів соціального ха­рактеру

Специфіку й умови формування соціального характеру в процесі переходу від доіндустріального суспільства до індустріального й у період становлення постіндустрі-ального сучасного суспільства найповніше досліджував Д. Рісмен [16]. Соціальний характер, за цим дослідником, є частиною психоло­гічного цілого, яка властива вели­ким соціальним верствам і є про­дуктом життєвого досвіду цих груп (мова йде переважно про ха­рактер класів, країн і націй). Д. Ріс-мен намагається встановити зв'язок між різними історичними епохами і типа­ми характеру, виділяючи при цьому три головні історичні періоди і типи суспільства, що їм відпо­відають [16, с. 17]:

•   «високого потенціалу приросту населення», коли рівень смертності і народжуваності приблиз­но однакові й дуже високі, а приріст населення при цьому незначний. У таких суспільствах пере­важає «первинний сектор» економіки, пов'язаний із сільським господарством, а також із полюван­ням, рибальством і видобутком корисних копа­лин. Такий тип суспільства називається традицій­ним або доіндустріальним (докапіталістичним). Це суспільство аграрного типу, засноване на тра­диціях, з церквою й армією як головними суспіль­ними інститутами. Такому типу суспільства відпо­відає «орієнтований-натрадицію» соціальний ха­рактер, що відрізняється високим ступенем конформності, прихильністю до традицій і підпоряд­куванням владним структурам;

•   «перехідного приросту населення», що харак­теризується «демографічним вибухом», результа­том якого є швидкий приріст населення. У таких суспільствах переважає «вторинний сектор» еко­номіки, пов'язаний з промисловим виробництвом, що відповідає індустріальному типу суспільства (А. Сен-Сімон, О. Конт, Г. Спенсер, Е. Дюркгейм). Для такого типу суспільства характерні різко зростаюча соціальна мобільність, швидке нагромадження капіталу, експансія і колонізація, що зу­мовлює і появу нового типу соціального характе­ру, «орієнтованого-на-себе» (відрізняється запов­зятливістю, ініціативою, прагненням до ризику і всього нового, а також внутрішнім джерелом мо­тивації);

«спаду населення, який починається»: народ­жуваність і смертність знову приблизно рівні (але тепер дуже низькі), а приріст населення знову до­сить незначний. У суспільствах такого типу пере­важає «третинний сектор» економіки, пов'яза­ний із торгівлею, комунікаціями і сферою послуг. Такий тип суспільства одержав назву постіндус-тріального (Д. Белл, Дж. Гелбрейт, О. Тоффлер, Ж. Фурастьє), де на перший план виходить знан­ня разом з університетом як головним інститутом його виробництва і зосередження. У такому сус­пільстві переважає соціальний характер, «орієнтований-на-іншого», основою якого є схвалення і думка інших людей.

Крім трьох названих Д. Рісменом типів сус­пільства і соціального характеру, існує, на наш погляд, і четвертий, який характеризується нас­тупними параметрами: «вимиранням населення», коли показники смертності стійко перевищують показники народжуваності, а чисельність насе­лення неухильно знижується; перевагою спожив­чої сфери над виробничою, що дає підстави вважа­ти такий тип суспільства споживчим (тобто пара­зитарним); появою нового типу соціального ха­рактеру — авторитарного (Е. Фромм), найбільш сприятливе середовище — тоталітарні режими, де основною соціальною силою є марґінали і люм­пени (люмпен-інтелігенція, люмпен-пролетаріат, люмпен-селянство), — відрізняються соціальною аморфністю, духовною дезорієнтацією і ненавис­тю до інших етносоціальних груп. Якщо перші три типи суспільства і соціального характеру відпові­дають трьом основним сферам соціологічної структури, трьом типам історичних часів, трьом секторам розвитку економіки (формам матеріаль­ного виробництва) і в цілому трьом сферам психо­логічної структури свідомості, то четвертий, на наш погляд, відповідає кризовим, перехідним, аномальним етапам соціального розвитку і спира­ється переважно на несвідомі потяги і дії.

Звідси закон: взаємозв'язок типів суспільства, форм матеріального і духовного виробництва, типів соціального характеру і демографічних процесів дає змогу соціальному управлінню усві­домлено впливати на формування соціуму, ос­кільки зміною в потрібному напрямку одного з параметрів соціального розвитку досягається необхідна зміна і взаємозалежних від нього фак­торів.

* Продовження. Початок у № 3–5 за 2005 рік.

(Продовження в наступному номері)


Література

1. Аристотель. Сочинения: В 4-х т.: Пер. с древнег-реч. — М., 1983.

2. Вебер М. Избран. произведения: Пер. с нем. — М., 1990.

3. Волков Ю. Г., Поликарпов В. С. Человек: Энцикл. словарь. — М., 1999.

4. Гончаров В. В. Руководство для высшего управлен­ческого персонала. — К., 1993.

5.  Гэлбрейт Дж. К. Новое индустриальное обще­ство. — М., 1969.

6.  Краткая философская энциклопедия. — М., 1994.

7.  Лукин В. М. Модели индустриальной и постиндус­триальной цивилизаций в западной футурологии // Вестн. С.-Петербург. ун-та. — 1993. — Сер. 6. — Вып. 1 (№ 6). — С. 16–24.

8.  Макиавелли Н. Государь: Пер. с итал. — М., 1990.

9.  Мальтус Т. Р. Опыт о законе народонаселения. — СПб., 1868.

10. Маркс К. Экономическо-философские рукописи 1844 года. — М., 1956.

11. Медушевский А. Н. Демократия и тирания в но­вое и новейшее время // Вопр. философии. — 1993. — № 10. — С. 3–24.

12. Монтескье Ш. Л. Избран. произведения. — М., 1955.

13. Платон. Собр. сочинений: В 4-х т.: Пер. с древ-негр. — М., 1990–1994.

14. Полибий. Всеобщая история: Пер. с греч. — М., 2004.

15. Політичний енцикл. словник. — К., 1997.

16. Рисмен Д. Некоторые типы характера и общес­тво // Социол. исслед. — 1993. — № 3, № 5.

17. Рудкевич Е. Д. Типология социального характера Д. Рисмена // Социолог. исслед. — 1993. — № 3. — С. 118–121.

18. Сен-Симон А. Избран. сочинения. — М.-Л., 1948.

19. Сенченко М. І. Детоксикація української культу­ри // ПЕРСОНАЛ. — 2004. — № 12. — С. 46–54.

20. Современная западная социология: Словарь. — М., 1990.

21. Сомов В. В. Социологическое знание в социаль­ной утопии Платона // Социол. исслед. — 1993. — № 9. — С. 120–125.

22. Сорокин П. А. Человек. Цивилизация. Общество: Пер. с англ. — М., 1992.

23. Фромм Э. Иметь или быть?: Пер. с англ. — М., 1990.

24. Ценностные ориентации — предпосылка прог­рамм переустройства общества / Н. Козлова, С. Рыле­ева, Е. Степанов, В. Федорова // Обществен. науки и современность. — 1992. — № 1. — С. 36–44.

25. Чижевский А. П. Земное эхо солнечных бурь. — М., 1976.

26. Чмихов М. О. Давня культура. — К., 1994.

27. Щокін Г. Ідеали соціального устрою: український вимір // ПЕРСОНАЛ Плюс. — 2004.

Янов А. Монтескье против Маркса // Обществен. науки



передплатний індекс 09881 про видання | реклама у виданні | контакти | попередня версія сайту